Zjeżdżalnia nasypowa z polietylenu - J1121

Stworzyliśmy artykuł J1121 w naszej gamie "Zjeżdżalnie". Ten moduł jest dostępny od 2 roku życia. Może pomieścić do 3 użytkowników.

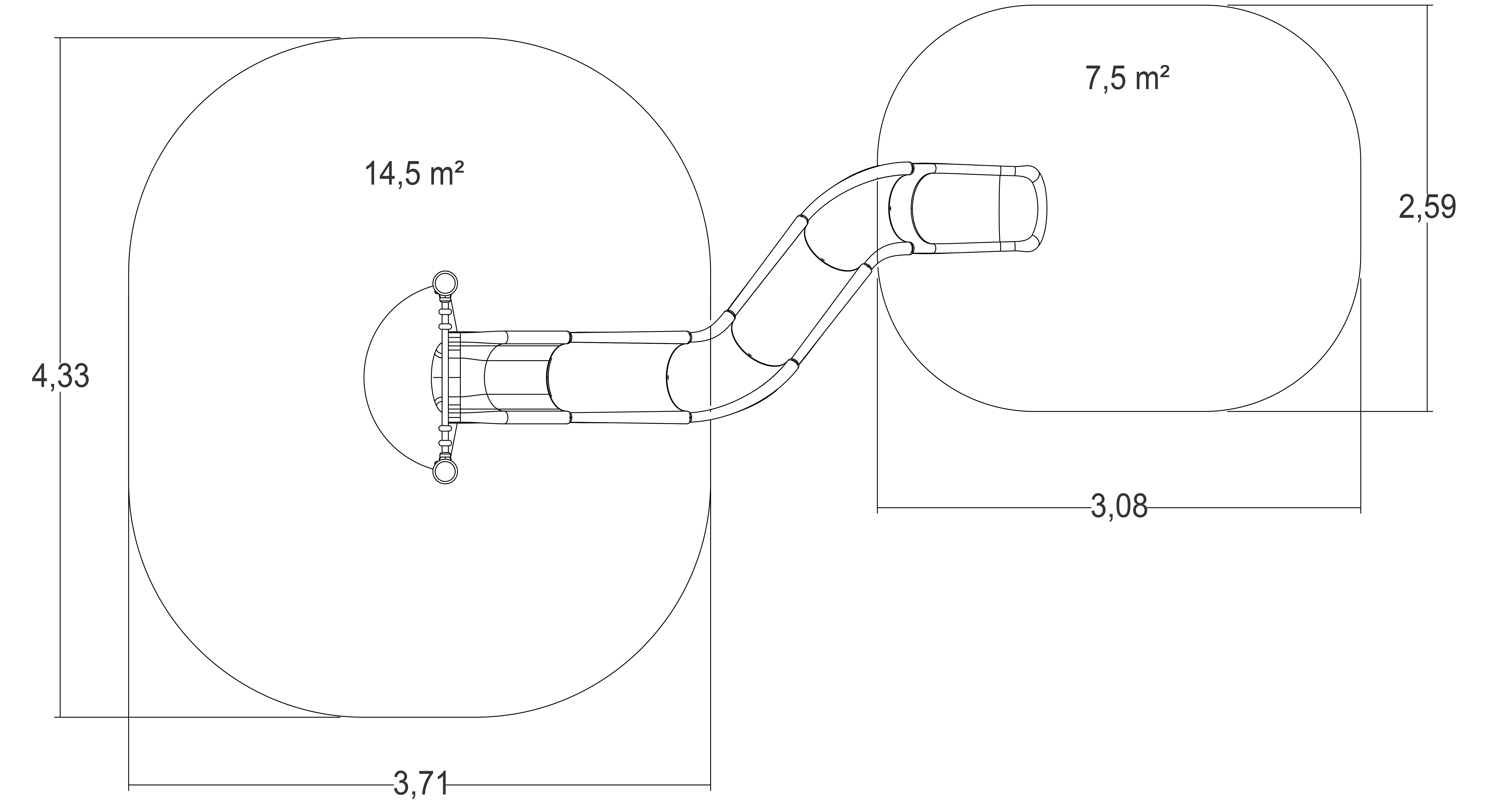
Wymiary modułu to: 4,40 m długość, szerokość: 2,05 m, wysokość: 3,80 m. Wysokość swobodnego upadku wynosi 1,00 m.

2 funkcje(-i) zabawowe(-ych)

zjeżdżanie
Zjeżdżanie x1
się spotkać
Się spotkać x1

Specyfikacje

Przedział wiekowy : 2+
Liczba użytkowników : 3 użytkowników
Wysokość swobodnego upadku : 1,00 m
Wymiary : 4,40 × 2,05 × 3,80 m

Montaż urządzenia

Liczba instalatorów : 2
Czas montażu : 05:00:00
Ilość betonu : 0,20 m³
Powierzchnia : 22,00 m²
Waga całkowita : 171,75 g
Waga najcięższego elementu : 20,20 g

Wskaźniki środowiskowe

Możliwość naprawy

Możliwość naprawy

9,49 /10

Certyfikaty

Wszystkie gry i sprzęt sportowy znajdujący się w naszej standardowej ofercie posiadają certyfikaty niezależnego laboratorium.

Materiały