Wodne miasto - Urządzenia do zabawy wodą na place zabaw - J1717

Stworzyliśmy artykuł J1717 w naszej gamie "Wodociągi". Ten moduł jest dostępny od 1 roku życia. Może pomieścić do 30 użytkowników.

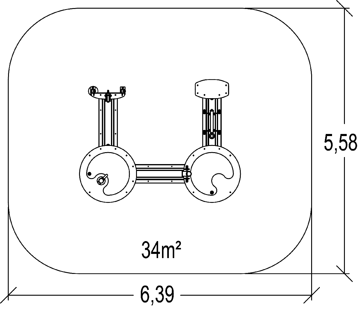
Wymiary modułu to: 3,39 m długość, szerokość: 2,58 m, wysokość: 0,99 m.

29 funkcje(-i) zabawowe(-ych)

wymyślać
Wymyślać x4
się spotkać
Się spotkać x7
manipulowanie
Manipulowanie x7
odbijać
Odbijać x5
stymulacja dotykowa
Stymulacja dotykowa x6
Pokaż więcej

Specyfikacje

Przedział wiekowy : 1+
Liczba użytkowników : 30 użytkowników
Wymiary : 3,39 × 2,58 × 0,99 m

Montaż urządzenia

Liczba instalatorów : 2
Czas montażu : 08:45:00
Powierzchnia : 34,00 m²
Waga całkowita : 135,00 g
Waga najcięższego elementu : 14,06 g

Wskaźniki środowiskowe

Możliwość naprawy

Możliwość naprawy

9,57 /10

Certyfikaty

Wszystkie gry i sprzęt sportowy znajdujący się w naszej standardowej ofercie posiadają certyfikaty niezależnego laboratorium.